Trên diễn đàn GR86.org, thông tin chi tiết về một bằng sáng chế mới của Toyota vừa được đăng tải. Đáng chú ý, bản thiết kế mà hãng xe Nhật Bản đăng ký được cho là có liên quan đến mẫu hypercar mạnh gần 1.000 mã lực GR Super Sport.
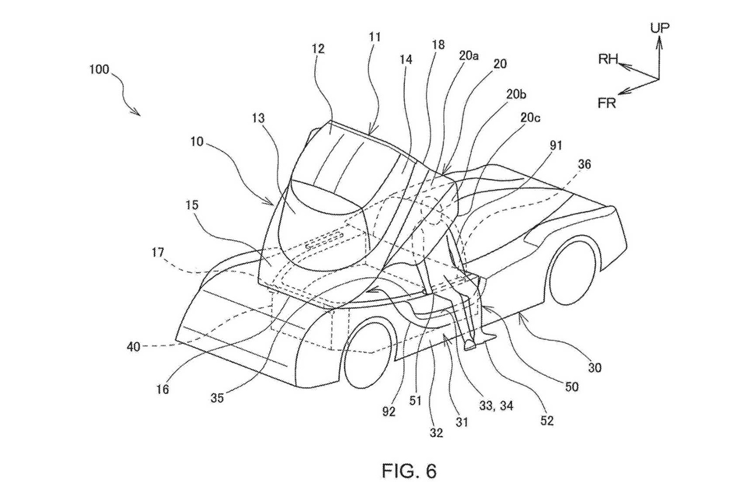
Cụ thể, Toyota đã đăng ký với Văn phòng Sáng chế và Nhãn hiệu Mỹ (USPTO) bằng sáng chế cho chi tiết mui kiêm cửa xe mở lên cao. Kết hợp với đó là phần bệ cửa bên trái thân xe được hạ thấp giúp người lái có thể ra vào cabin đơn.
Thiết kế này trùng khớp với mẫu xe ý tưởng Toyota GR Super Sport từng được giới thiệu vào tháng 6/2019. Theo đó, GR Super Sport có khoang lái dành cho một người ngồi tương tự xe đua F1 và cách ra vào cabin chưa được Toyota nhắc đến khi xe ra mắt.
|
| Mui xe mở lên cao cho phép người lái ra vào cabin đơn của Toyota GR Super Sport. Ảnh: Motor1. |
Theo các thông tin đã được công bố, Toyota GR Super Sport là mẫu xe được phát triển bởi đội đua Toyota Gazoo Racing.
Mẫu xe này sẽ được thay đổi cấu hình động cơ để vừa đủ tiêu chuẩn tham gia giải đua World Rally Championship của Liên đoàn Ôtô Quốc tế FIA, vừa đủ hợp pháp để di chuyển trên đường phố.
Ở cấu hình xe đua, Toyota cho biết GR Super Sport sở hữu sức mạnh 750 mã lực và có thể được tích hợp hệ thống hybrid để hỗ trợ.
|
| Toyota GR Super Sport sẽ có biến thể xe đua và xe thương mại. Ảnh: Toyota. |
Trong khi đó, phiên bản thương mại của Toyota GR Super Sport sẽ là một chiếc hypercar thực thụ với động cơ V6 2.4L tăng áp kép, kết hợp cùng một động cơ điện hỗ trợ sản sinh tổng công suất lên đến 986 mã lực.
Hiện tại, chưa có thông tin về thời điểm xuất xưởng của Toyota GR Super Sport. Tuy nhiên, với bằng sáng chế mới vừa được Toyota đăng ký, có thể kỳ vọng mẫu hypercar Nhật Bản sẽ sớm lăn bánh trên đường phố. Dự đoán, mức giá cho GR Super Sport có thể lên đến 1 triệu USD.
